免费空降app入口在哪,全国大圈纯出外围招聘,qq快餐大学生,24小时空降小妹

温度计资讯banner图
工业温度计资讯

WSS系列双金属温度计选择

整理发布: 京仪股份 时间: 2018-07-09 12:39 浏览次数:
WSS系列双金属温度计选择 文章由双金属温度计_电接点双金属温度计_热电阻热电偶温度计-京仪股份为您整理编辑。摘要:双金属温度计的几种安装形式 双金属温度计的工作原理是利用二种不同温度膨胀系数的金属,一端焊接在固定点,另一端当温度变化时扭曲变形,将其转换成指针偏转角度,指示温度。。。。

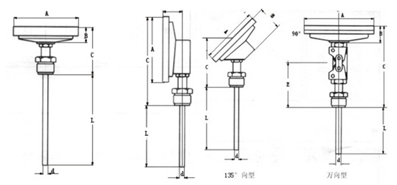
双金属温度计的几种安装形式

  双金属温度计的工作原理是利用二种不同温度膨胀系数的金属,一端焊接在固定点,另一端当温度变化时扭曲变形,将其转换成指针偏转角度,指示温度。抽芯式是指双金属感温元件可以从外?;す苣诔槌龈唬鞘褂脄ui广泛的现场指示温度计。
  按双金属温度计指针盘与保护管的连接方向可以把双金属温度计分成轴向型、径向型、135°向型和万向型四种。
1、径向型双金属温度计:指针盘与?;す芷叫辛?;
2、135°向型双金属温度计:指针盘与保护管成135°连接;
3、万向型双金属温度计:指针盘与?;す芰咏嵌瓤扇我獾髡?;
4、轴向型双金属温度计:指针盘与保护管垂直连接。
双金属温度计安装形式双金属温度计的工作原理是使用两种不同温度膨胀系数的金属,一端焊接在固定点,另一端在温度变化时扭曲,转换成指针偏转角来指示温度。抽芯式指双金属温度传感元件可从外部?;す苤腥〕鼋懈?,这基于zui的大量现场说明温度计。[/BR/]根据双金属温度计指针盘和保护管的连接方向,可分为轴向型、径向型和135°;有四种类型:方向型和通用型。
1,径向双金属温度计:指针盘与?;す懿⒘?br>2、135 °;方向双金属温度计:指针盘和保护管形成135°;连接;
3、通用双金属温度计:指针盘和保护管之间的连接角度可以随意调节;
4,轴向型双金属温度计:指针盘与?;す艽怪绷印?br>

“WSS系列双金属温度计选择 ”本文地址,转载请勿删除!http://m.6j07.cn/gynews/2561.html

?
京仪股份

Copyright © 京仪股份 版权所有 皖ICP备19024839-1
全国服务电话:15222906608   传真:
公司地址:安徽省天长市经开区纬二路22号   网站地图