免费空降app入口在哪,全国大圈纯出外围招聘,qq快餐大学生,24小时空降小妹

温度计资讯banner图
工业温度计资讯

双金属温度计常见安装方法

整理发布: 京仪股份 时间: 2018-07-09 12:39 浏览次数:
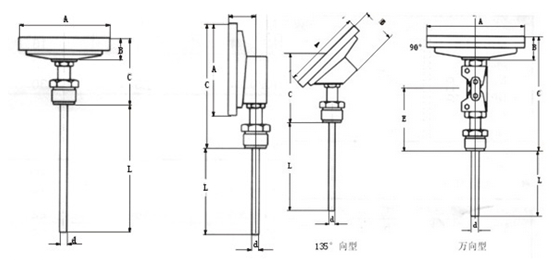
双金属温度计常见安装方法 文章由双金属温度计_电接点双金属温度计_热电阻热电偶温度计-京仪股份为您整理编辑。摘要:根据双金属温度计指针盘和?;す艿牧臃较?,双金属温度计可分为轴向型、径向型和135°;有四种类型:方向型和通用型。 1、通用双金属温度计:指针盘和?;す苤涞牧咏嵌瓤梢运?。。。

根据双金属温度计指针盘和保护管的连接方向,双金属温度计可分为轴向型、径向型和135°;有四种类型:方向型和通用型。
1、通用双金属温度计:指针盘和?;す苤涞牧咏嵌瓤梢运嬉獾鹘冢?/p>

2、径向型双金属温度计:指针盘与保护管平行连接;
3、135°向型双金属温度计:指针盘与保护管成135°连接;
4、轴向型双金属温度计:指针盘与?;す艽怪绷印?br> 双金属温度计的工作原理是利用二种不同温度膨胀系数的金属,一端焊接在固定点,另一端当温度变化时扭曲变形,将其转换成指针偏转角度,指示温度。抽芯式是指双金属感温元件可以从外保护管内抽出更换,是使用zui广泛的现场指示温度计。
   2.径向双金属温度计:指针盘与?;す懿⒘?br>3、135度;方向双金属温度计:指针盘和?;す苄纬?35°;连接;
4,轴向型双金属温度计:指针盘与?;す艽怪绷?。
双金属温度计的工作原理是使用两种不同温度膨胀系数的金属,一端焊接在固定点,另一端在温度变化时扭曲变形,转换成指针偏转角度来指示温度。抽芯式指双金属温度传感元件可从外部?;す苤腥〕鼋懈?,这基于zui的大量现场说明温度计。

“双金属温度计常见安装方法 ”本文地址,转载请勿删除!http://m.6j07.cn/gynews/2200.html

?
京仪股份

Copyright © 京仪股份 版权所有 皖ICP备19024839-1
全国服务电话:15222906608   传真:
公司地址:安徽省天长市经开区纬二路22号   网站地图