双金属温度计的工作原理是使用两种不同温度膨胀系数的金属,一端焊接在固定点,另一端在温度变化时扭曲,转换成指针偏转角来指示温度。抽芯式指双金属温度传感元件可从外部保护管中取出进行更换,这是一种广泛使用的现场指示温度计。
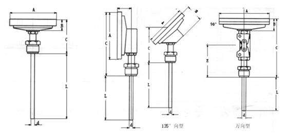
根据双金属温度计指针盘和保护管的连接方向,可分为轴向型、径向型和135°;有四种类型:方向型和通用型。
1,径向双金属温度计:指针盘与?;す懿⒘?;
2、135 °;方向双金属温度计:指针盘和?;す苄纬?35°;连接;
3、通用双金属温度计:指针盘和保护管之间的连接角度可以随意调节;
4,轴向型双金属温度计:指针盘与?;す艽怪绷?。

安装双金属温度计,应注意在不影响设备运行和生产操作的情况下,便于精确测温、安全和易于维护。为了满足上述要求,在选择热阻的安装位置和插入深度时应注意以下几点:
(1)为了保证热阻测量端与被测介质之间有足够的热交换,应合理选择测量点的位置,尽量避免在阀门、弯管、管道和设备死角附近安装热阻。
(2)带?;ぬ椎娜茸栌写群蜕⑷人鹗?。为了减少测量误差,热电偶和热阻应具有足够的插入深度:[/BR/] A .对于测量管道中心流体温度的热阻,其测量端应插入管道中心(垂直或倾斜安装)。如果被测流体管直径为200毫米,热阻插入深度应为100毫米。
b对于高温、高压和高速流体(如主蒸汽温度)的温度测量,为了降低保护套管对流体的阻力,防止保护套管在流体的作用下断裂,可以采用浅插入?;す芑蛉忍坠苄腿茸?。浅插入式热阻保护套管,主蒸汽管的插入深度不应小于75毫米;;热套筒式热电阻的标准插入深度为100毫米;;
c,如果需要测量烟道内烟气的温度,即使烟道直径为4m,热阻的插入深度仅为1m;
d,当原始测量值的插入深度超过1m时,应尽可能垂直安装,或另外安装支撑架和?;ぬ?。
“双金属温度计几种安装方法的要求 ”本文地址,转载请勿删除!http://m.6j07.cn/gynews/1717.html